ZX清水自吸泵產品概述:
ZX清水自吸泵是永嘉縣泉達泵閥制造有限公司生產的臥式自吸離心泵。這種泵與別的類型的的自吸離心泵比較,因為泵本身沒有止回閥,所以工作可靠,結構簡單,工作時很少出現故障,具有維護方便體積小,重量輕,效率高等等優點,并且永嘉泉達技術人員在設計上做了特別的要求與同類泵相比排量更大,性能更強。
在工業跟農業生產,搶險求助的等等方面使用擔當應急使用的泵性能優點更加突出。 ZX型自吸泵廣泛適用石 油、化工、冶金、機械、化纖、食品、能源、交通等工業部門城市給水、亦可用于農業排灌、 噴灌。供輸送清水或粘度小于5°E,溫度低于80℃物理及化學性質類似清水的其它液體。
型號意義:

ZX清水自吸泵使用范圍:
流 量:3.2~550m3/h
揚 程:12~80m
電機功率:0.75~132kw
口 徑:25~300mm
吸 程:5~6.5m
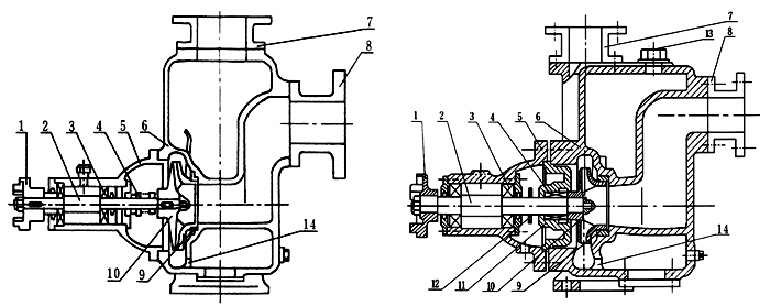
ZX清水自吸泵結構圖:

|
1
|
聯軸器
|
2
|
泵軸
|
3
|
軸承
|
4
|
機械密封
|
5
|
軸承體
|
6
|
泵殼
|
7
|
出口座
|
|
8
|
進口座
|
9
|
前密封環
|
10
|
葉輪
|
11
|
后蓋
|
12
|
檔水圈
|
13
|
加液孔
|
14
|
回液孔
|
ZX清水自吸泵工作原理:
該自吸泵均采用軸向回液的泵體結構。泵體由吸人室、儲液室、渦卷室、回液孔、氣液分離室等組成,泵正常起動后,葉輪將吸人室所存的液體及吸人管路中的空氣一起吸人,并在葉輪內得以完全混合,在離心力的作用下,液體夾帶著氣體向渦卷室外緣流動,在葉輪的外緣上形成有一定厚度的白色泡沫帶及高速旋轉液環。氣液混合體通過擴散管進人氣液分離室。此時,由于流速突然降低,較輕的氣體從混合氣液中被分離出來,氣體通過泵體吐出口繼續上升排出。脫氣后的液體回到儲液室,并由回流孔再次進入葉輪,與葉輪內部從吸人管路中吸人的氣體再次混合,在高速旋轉葉輪作用下,又流向葉輪外緣……。隨著這個過程周而復始地進行下去,吸人管路中的空氣不斷減少,直到吸盡氣體,完成自吸過程,泵便投人正常作業。
在一些泵的軸承體底部還設有冷卻室。當軸承發熱引起軸承體溫升超過70℃時,可在冷卻室處通過任意一只冷卻液管接頭,注人冷卻液循環冷卻。泵內部防止液體由高壓區向低壓區泄漏的密封機構是前后密封環,前密封環裝在泵體上,后密封環裝在軸承體上,當泵經長期運轉密封環磨損到一定程度,并影響到泵的效率和自吸性能時,應給予更換。
ZX清水自吸泵產品用途:
1、是適用于城市環保、建筑、消防、化工、制藥、染料、印染、釀造、電力、電鍍、造紙、工礦沖洗、設備冷卻等。
2、是裝上搖臂式噴頭、又可將水沖到空中后.散成細小雨滴進行噴霧,是農場、苗圃、果園、茶園的良好機具。
3、是適用于清水、海水及帶有酸、堿度的化工介質液體和帶有一般糊狀的漿料(介質粘度≤100厘珀、含固量可達30%以下)。
4、是可和任何型號、規格的壓濾機配套使用,將漿料送給壓濾機進行壓濾的最理想配套泵種。
ZX清水自吸泵性能參數:
|
型號
|
流 量
|
揚程
(m)
|
吸程
(m)
|
轉速
(r/min)
|
自吸性能(min/5m)
|
功率(KW)
|
泵口徑(mm)
|
|
(m3/h)
|
(L/S)
|
軸功率
|
電機功率
|
吸入
|
排出
|
|
25ZX3.2-20
|
3.2
|
0.9
|
20
|
6.5
|
2900
|
1.9
|
0.46
|
0.75
|
25
|
25
|
|
25ZX3.2-32
|
3.2
|
0.9
|
32
|
6.5
|
2900
|
1.8
|
0.8
|
1.1
|
25
|
25
|
|
40ZX6.3-20
|
6.3
|
1.8
|
20
|
6.5
|
2900
|
1.9
|
0.87
|
1.1
|
40
|
32
|
|
40ZX10-40
|
10
|
2.8
|
40
|
6.5
|
2900
|
1.5
|
2.7
|
4
|
50
|
40
|
|
50ZX15-12
|
15
|
4.2
|
12
|
6.5
|
2900
|
2.4
|
1.1
|
1.5
|
50
|
50
|
|
50ZX18-20
|
18
|
5
|
20
|
6.5
|
2900
|
1.9
|
1.8
|
2.2
|
50
|
50
|
|
50ZX12.5-32
|
12.5
|
3.5
|
32
|
6.5
|
2900
|
1.5
|
2.1
|
3
|
50
|
50
|
|
50ZX20-30
|
20
|
5.6
|
30
|
6.5
|
2900
|
1.5
|
2.6
|
4
|
50
|
50
|
|
50ZX14-35
|
14
|
3.9
|
35
|
6.5
|
2900
|
1.5
|
2.7
|
4
|
50
|
50
|
|
50ZX10-40
|
10
|
2.8
|
40
|
6.5
|
2900
|
1.5
|
2.7
|
4
|
50
|
50
|
|
50ZX12.5-50
|
12.5
|
3.5
|
50
|
6.5
|
2900
|
1.4
|
4.3
|
5.5
|
50
|
50
|
|
50ZX15-60
|
15
|
4.2
|
60
|
6.5
|
2900
|
1.3
|
6.2
|
7.5
|
50
|
50
|
|
50ZX20-75
|
20
|
5.6
|
75
|
6.5
|
2900
|
1.3
|
9.8
|
11
|
50
|
50
|
|
65ZX30-15
|
30
|
8.3
|
15
|
6.5
|
2900
|
2
|
1.9
|
3
|
65
|
65
|
|
65ZX25-32
|
25
|
6.9
|
39
|
6
|
2900
|
1.5
|
4.4
|
5.5
|
65
|
65
|
|
80ZX35-13
|
35
|
9.7
|
13
|
6
|
2900
|
3.4
|
1.9
|
3
|
80
|
80
|
|
80ZX43-17
|
43
|
12
|
17
|
6
|
2900
|
1.8
|
3.1
|
4
|
80
|
80
|
|
80ZX40-22
|
40
|
11.1
|
22
|
6
|
2900
|
1.9
|
4.4
|
5.5
|
80
|
80
|
|
80ZX50-25
|
50
|
13.9
|
25
|
6
|
2900
|
1.5
|
5.2
|
7.5
|
80
|
80
|
|
80ZX50-32
|
50
|
13.9
|
32
|
6
|
2900
|
1.5
|
6.8
|
7.5
|
80
|
80
|
|
80ZX60-55
|
60
|
16.17
|
55
|
6
|
2900
|
1.5
|
15
|
18.5
|
80
|
80
|
|
80ZX60-70
|
60
|
16.7
|
70
|
6
|
2900
|
1.2
|
20.1
|
22
|
80
|
80
|
|
100ZX100-20
|
100
|
27.8
|
20
|
6
|
2900
|
1.8
|
7.8
|
11
|
100
|
100
|
|
100ZX100-40
|
100
|
27.8
|
40
|
6
|
2900
|
1.8
|
16.3
|
22
|
100
|
100
|
|
100ZX100-65
|
100
|
27.8
|
65
|
6
|
2900
|
1.8
|
27.7
|
30
|
100
|
100
|
|
100ZX70-75
|
70
|
19.4
|
75
|
6
|
2900
|
1.8
|
24.2
|
30
|
100
|
100
|
|
150ZX170-55
|
170
|
47.2
|
55
|
5
|
2900
|
1.8
|
39.2
|
45
|
150
|
150
|
|
150ZX170-65
|
170
|
47.2
|
65
|
5
|
2900
|
1.3
|
46.3
|
55
|
150
|
150
|
|
150ZX160-80
|
160
|
44.4
|
80
|
5
|
2900
|
1.2
|
53.6
|
55
|
150
|
150
|
|
200ZX400-32
|
400
|
111.1
|
32
|
5
|
1450
|
2
|
52.1
|
55
|
200
|
200
|
|
200ZX280-63
|
280
|
77.8
|
63
|
5
|
1450
|
1.5
|
73.9
|
90
|
200
|
200
|
|
200ZX350-65
|
350
|
97.2
|
65
|
5
|
1450
|
1.5
|
97.2
|
110
|
200
|
200
|
|
250ZX550-32
|
550
|
152.8
|
32
|
5
|
1450
|
2
|
72.3
|
175
|
250
|
250
|
|
250ZX400-50
|
400
|
111.1
|
50
|
5
|
1450
|
2
|
8 0
|
90
|
250
|
250
|
|
250ZX450-55
|
450
|
125
|
55
|
5
|
1450
|
2
|
102.1
|
110
|
250
|
250
|
|
250ZX400-75
|
400
|
111.1
|
75
|
5
|
1450
|
1.5
|
125.6
|
132
|
250
|
250
|
|
300ZX600-32
|
600
|
166.7
|
32
|
5
|
1450
|
2
|
79.2
|
90
|
300
|
300
|
|
300ZX500-50
|
500
|
138.9
|
50
|
5
|
1450
|
2
|
104.6
|
110
|
300
|
300
|
|
300ZX550-55
|
550
|
152.8
|
55
|
5
|
1450
|
2
|
117.6
|
132
|
300
|
300
|
ZX清水自吸泵使用:
(一)、起動前的準備及檢查工作:
1.本系列自吸泵,根據泵的工作運轉狀況,分別采用優質鈣基黃油和10號機油進行潤滑,如果采用黃油潤滑的泵應定期向軸承箱內加注黃油,采用機油潤滑的泵,如果油位不足,則加足之。
2.檢查泵殼內的儲液是否高于葉輪的上邊緣,如若不足,可以從泵殼上的加液口處直接向泵體內注入儲液,不應在儲液不足的情況下啟動運轉,否則泵不能正常工作,且易損壞機械密封。
3.檢查泵的轉動部件是否有卡住磕碰現象。
4.檢查泵體底腳及各聯結處螺母有無松動現象。
5.檢查泵軸與電動機主軸的同軸度和平行度。
6.檢查進口管路是否漏氣,如有漏氣,必須設法排除。
7.打開吸入管路的閥門,稍開(不要全開)出口控制閥。
(二)、起動及操作:
1.點動自吸泵,注意泵軸的轉向是否正確。
2.注意轉動時有無不正常的聲響和振動。
3.注意壓力表及真空表讀數,起動后當壓力表及真空表的讀數經過一段時間的波動而指示穩定后,說明泵內已經上液,進入正常輸液作業。
4.在泵進入正常輸液作業前即自吸過程中,應特別注意泵內水溫升高情況,如果這個過程過長,泵內水溫過高,則停泵檢查其原因。
5.如果泵內液體溫度過高而引起自吸困難,那么可以暫時停機,利用吐出管路中的液體倒流回泵內或向泵體上的加儲液口處直接向泵內補充液體,使泵內液體降溫,然后起動即可。
6.泵在工作過程中如發生強烈振動和噪聲,有可能是泵發生汽蝕所致,汽蝕產生的原因有兩種:一是進口管流速過大,二是吸程過高,流速過大時可調節出口控制閥,升高壓力表讀數,在進口管路有堵塞時則應及時排除;吸程太高時可適當降低泵的安裝高度。
7.泵在工作過程中因故停泵,需再起動時,出口控制閥應稍開(不要全閉),這樣既有利于自吸過程中氣體從吐出口排出,又能保證泵在較輕的負荷下啟動。
8.注意檢查管路系統有無滲漏現象。
(三)、停泵:
1.首先必須關閉吐出管路上的閘閥。
2.使泵停止轉動。
3.在寒冷季節,應將泵體內的儲液和軸承體冷卻室內的水放空,以防凍裂機件。
ZX清水自吸泵維護與拆裝:
該自吸泵的特點是結構簡單可靠,經久耐用。在泵正常情況下,一般不需要經常拆開保養。當發現故障后隨時給予排除即可。
1.維護該泵時應注意幾個主要部位。
A.滾動軸承:當泵長期運行后,軸承磨損到一定程度時,須進行更換。
B.前密封環、后密封環:當密封環磨損到一定程度時,須進行更換。
C.機械密封:機械密封在不漏液的情況下,一般不應拆開檢查。若軸承體下端泄漏口處產生嚴重泄漏時,則應對機械密封進行拆檢。裝拆機械密封時,必須輕取輕放,注意配合面的清潔,保護好靜環和動環的鏡面,嚴禁敲擊碰撞。因機械密封而產生泄漏的原因主要是摩擦付鏡面拉毛所至。其修復辦法,可對磨擦付端面進行研磨使恢復鏡面。機械密封產生泄漏的另一原因是“O”形橡膠密封圈(或緩沖墊)安裝不當、或者變形老化所至。此時則需調整或更換“O”形密封固進行重新裝配。
2.泵拆裝順序:
A.拆下電動機或脫出聯軸器。
B.拆出軸承體總成,檢查葉輪和前口環的徑向間隙,檢查葉輪螺母有無松動。
C.拆下葉輪螺母,拉出葉輪,檢查葉輪和后密封環的徑向間隙。
D.松出機械密封的緊定螺釘,拉出機械密封的動環部分,檢查動、靜環端面的貼合情況,檢查“O”形密封圈(或緩沖墊)的密封情況。
E.旋出聯軸器的緊定螺母,拉出聯軸器。
F.拆下軸承端蓋,拆出泵軸和軸承。
G.安裝時以相反順序進行裝配即可。
ZX清水自吸泵訂貨請盡量提供:
1.型號2.口徑3.揚程(m)4.流量5.電機功率(KW)6.轉速(R/min)7.材質不否帶附件8.電壓(V)

● 感謝您訪問我們永嘉泉達的網站【m.blackhattank.com】如有任何疑問.您可以致電給我們,電話:0577-66999097、66999098,我們一定會盡心盡力為您提供優質的服務。
離心式自吸泵生產廠家,ZX型離心式自吸泵,ZX型離心泵
相關產品:
自吸式油泵CYZ-A型 W旋渦泵 (ZS)型系列玻璃鋼自吸泵 FZB氟塑料自吸泵 JMZ移動酒泵 ZWP不銹鋼自吸泵
WFZB無密封自控自吸泵 CYZ-A型自吸式油泵 磁力驅動自吸泵 ZX型自吸式清水泵 ZBF型塑料磁力自吸泵
ZCQ型不銹鋼磁力自吸泵 ZW無堵塞自吸泵 ZW型自吸泵機械密封